● Стандарт: IEC/EN 61643-11
● Номинальная мощность импульса: Imax=20 кА (8/20 мкс)
● Категория IEC/EN: Тип 2/Класс II
● Макс. постоянное рабочее напряжение: 150, 275, 320, 385, 440 В
● Корпус: съемная конструкция
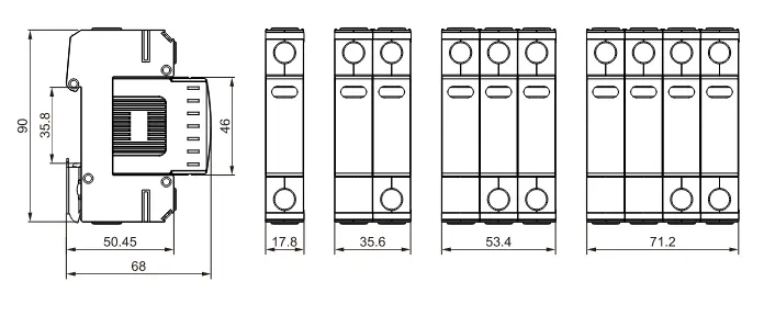
Модульные устройства защиты от перенапряжения EKU5-T2-20 Тип 2 обеспечивают защиту оборудования, подключенного к низковольтным источникам питания переменного тока, защищая от переходного перенапряжения, вызванного локальными ударами молнии или переключением электрических индуктивных или емкостных нагрузок. Они доступны с соединительными базами для монтажа на DIN-рейку в 1, 2, 3 или 4 модулях, что позволяет легко подключать выбранные модули защиты от перенапряжения.
| Количество полюсов | 1П | 2П | 3П | 4П | 1P+NPE | 3P+НПЭ |
| Сетевые системы | TN-S, TN-C, TT(только LN) | TN-S | TN-C | TN-S | TT, TN-S | |
| Режим защиты | L-PE, N-PE(только TN-S), L-PEN, LN | L-ПЭ, N-ПЭ | L-PEN | L-ПЭ, N-ПЭ | ЛН, Н-ПЭ | |
| Защитные элементы | Высокоэнергетический MOV | Высокоэнергетический MOV и GDT | ||||
| Максимальное непрерывное рабочее напряжение (LN) | УК | 150В | 275В | 320В | 385В | 440В |
| Максимальное постоянное рабочее напряжение (N-PE) | УК | 255В | ||||
| Номинальный ток разряда (8/20 мкс) (LN)/(N-PE) | В | 10кА | ||||
| Максимальный ток разряда (8/20 мкс) (LN)/(N-PE) | Имакс | 20кА | ||||
| Уровень защиты напряжения (LN)/(N-PE) | Вверх | 0,8кВ/1,5кВ | 1,0кВ/1,5кВ | 1,2кВ/1,5кВ | 1,45кВ/1,5кВ | 1,6кВ/1,5кВ |
| Уровень защиты по напряжению 5кА | Вверх | 0,5 кВ | 0,8 кВ | 1,0 кВ | 1,2 кВ | 1,4 кВ |
| Время отклика (LN)/(N-PE) | тА | ≤25нс/≤100нс | ||||
| Диапазон рабочих температур | вт | -40℃ до +80℃ | ||||
| Макс. Резервный предохранитель | 125 А гЛ/гГ | |||||
| Индикация рабочего состояния/неисправности | Зеленый/красный (LN), желтый (N-PE) | |||||
| Площадь поперечного сечения (мин.)/(макс.) | 4мм²/35мм² | |||||
| Монтаж | DIN-рейка 35 мм, EN 60715 | |||||
| Материал корпуса | Термопластик UL94-V0 | |||||
| Степень защиты | IP20 (встроенный) | |||||



|
No. of Poles |
Max. Continuous Operating AC Voltage |
||||
| 150V | 275V | 320V | 385V | 440V | |
|
1P |
EKU5-T2-20-1P150 |
EKU5-T2-20-1P275 |
EKU5-T2-20-1P320 |
EKU5-T2-20-1P385 |
EKU5-T2-20-1P440 |
|
2P |
EKU5-T2-20-2P150 |
EKU5-T2-20-2P275 |
EKU5-T2-20-2P320 |
EKU5-T2-20-2P385 |
EKU5-T2-20-2P440 |
|
3P |
EKU5-T2-20-3P150 |
EKU5-T2-20-3P275 |
EKU5-T2-20-3P320 |
EKU5-T2-20-3P385 |
EKU5-T2-20-3P440 |
|
4P |
EKU5-T2-20-4P150 |
EKU5-T2-20-4P275 |
EKU5-T2-20-4P320 |
EKU5-T2-20-4P385 |
EKU5-T2-20-4P440 |
|
1P+NPE |
EKU5-T2-20-1PN150 |
EKU5-T2-20-1PN275 |
EKU5-T2-20-1PN320 |
EKU5-T2-20-1PN385 |
EKU5-T2-20-1PN440 |
|
3P+NPE |
EKU5-T2-20-3PN150 |
EKU5-T2-20-3PN275 |
EKU5-T2-20-3PN320 |
EKU5-T2-20-3PN385 |
EKU5-T2-20-3PN440 |
| With Remote Signaling | |||||
|
1P |
EKU5-T2-20-1P150S |
EKU5-T2-20-1P275S |
EKU5-T2-20-1P320S |
EKU5-T2-20-1P385S |
EKU5-T2-20-1P440S |
|
2P |
EKU5-T2-20-2P150S |
EKU5-T2-20-2P275S |
EKU5-T2-20-2P320S |
EKU5-T2-20-2P385S |
EKU5-T2-20-2P440S |
|
3P |
EKU5-T2-20-3P150S |
EKU5-T2-20-3P275S |
EKU5-T2-20-3P320S |
EKU5-T2-20-3P385S |
EKU5-T2-20-3P440S |
|
4P |
EKU5-T2-20-4P150S |
EKU5-T2-20-4P275S |
EKU5-T2-20-4P320S |
EKU5-T2-20-4P385S |
EKU5-T2-20-4P440S |
|
1P+NPE |
EKU5-T2-20-1PN150S |
EKU5-T2-20-1PN275S |
EKU5-T2-20-1PN320S |
EKU5-T2-20-1PN385S |
EKU5-T2-20-1PN440S |
|
3P+NPE |
EKU5-T2-20-3PN150S |
EKU5-T2-20-3PN275S |
EKU5-T2-20-3PN320S |
EKU5-T2-20-3PN385S |
EKU5-T2-20-3PN440S |
