● Стандарт: IEC61009-1, IEC62026
● Защита: обнаружение последовательного и параллельного дугового замыкания, комбинированное обнаружение дугового замыкания, обнаружение короткого замыкания, перегрузки и утечки на землю.
● Тип АВДТ: AC, A
● Номинальный ток: 6~40А
● Номинальное напряжение: 230/240~
● Количество полюсов: 1P+N (с коммутируемой нейтралью)
● Номинальный остаточный рабочий ток (IAn): 10, 30, 100, 300 мА
● Номинальная отключающая способность при коротком замыкании: 6 кА
● Кривая отключения: B, C
● Температура окружающего воздуха: -25...+40 ºC
● Подключение: снизу
● Сертификаты: CE, CB
В однофазных цепях переменного тока напряжением не более 230 В, включая кольцевые цепи, радиальные цепи и т. д., AFDD, если он используется, должен размещаться в начале защищаемой цепи.
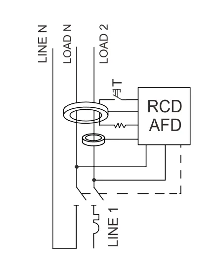
Устройства EKL17-40AFD представляют собой одномодульное устройство, которое подходит к существующей системе шин существующей компоновки. Устройство обеспечивает защиту от сверхтока, короткого замыкания, утечки на землю и дугового замыкания в одном устройстве и доступно в вариантах B и C Curve. Оно может напрямую заменять RCBO в существующих потребительских блоках.
| Перегрузка по току | Короткое замыкание | Утечка на землю | Серия Arc Fult | Параллельная дуга Fult | |
| МКБ | √ | √ | × | × | × |
| РККБ | × | × | √ | × | × |
| АВДТ | √ | √ | √ | × | × |
| АФДД | × | × | × | √ | √ |
| AFDD интегрирован с RCBO | √ | √ | √ | √ | √ |
Предельные значения времени отключения для Ue 230V AFDD
|
Испытательный ток дуги (среднеквадратические значения)
|
Максимальное время разрыва
|
|
2.5А
|
1С
|
|
5А
|
0.5С
|
|
10А
|
0.25С
|
|
16А
|
0.15С
|
|
32А
|
0.12С
|
|
63А
|
0.12С
|
Примечание:
1. Ток испытательной дуги — это ожидаемый ток до возникновения зажигания в испытательной цепи.
2. Слабые дуговые токи могут возникать из-за замыканий изоляции фазы на землю или последовательной дуги.
|
Стандарт
|
МЭК/EN61009-1, МЭК62026
|
|
Защита
|
Защита от дугового замыкания, защита от перегрузки,
Защита от короткого замыкания, защита от утечки тока на землю
|
|
Тип поездки
|
Замыкание на землю: Электронное
|
|
Перегрузка и короткое замыкание: Термомагнитный
|
|
|
Тип защиты (утечка тока)
|
А
|
|
Количество полюсов
|
1P+N (N-полюс можно подключать и отключать)
|
|
Номинальные токи (In)
|
6, 10, 16, 20, 25, 32, 40А
|
|
Номинальные токи чувствительности IΔn
|
10, 30, 100, 300мА
|
|
Остаточный ток отключения при IΔn
|
≤ 0,1 с
|
|
Номинальная остаточная включающая и отключающая способность (IΔm)
|
500А
|
|
Номинальное напряжение (Ue)
|
230/240В
|
|
Номинальная частота
|
50/60Гц
|
|
Номинальная отключающая способность
|
6000А
|
|
Класс ограничения энергии
|
3
|
|
Номинальный импульс при стандартном напряжении (1,5/50) Uimp
|
4000 В
|
|
Напряжение испытания диэлектрика при инд.частоте в течение 1 мин.
|
2кВ
|
|
Характеристика термического срабатывания
|
(1,13-1,45) ×В
|
|
Характеристика магнитного расцепления
|
В: (3-5) ×В, С: (5-10) ×В
|
|
Электрическая жизнь
|
4000 циклов
|
|
Механическая жизнь
|
10 000 циклов
|
|
Индикатор положения контакта
|
Да
|
|
Степень защиты
|
IP20
|
|
Температура окружающей среды
|
-25℃ до +40℃, макс. влажность 95%
|
|
Тип клеммного соединения
|
Кабель/штыревая шина
|
|
Макс. размер клеммы для кабеля
|
L(вход): 25 мм², N/L(выход): 16 мм²
|
|
Макс. момент затяжки
|
L(вход): 2,5 Нм, N/L(выход): 2 Нм
|
|
Установка
|
Монтаж на 35-мм DIN-рейку
|
|
Связь
|
Снизу
|


| AFDD/RCBO EK17-40AFD (кривая B) | ||||
| Номинальный Ток(А) |
Чувствительность | |||
| 10mA | 30mA | 100mA | 300mA | |
| 6A | EKL17-40AFD-1NB0610A | EKL17-40AFD-1NB0630A | EKL17-40AFD-1NB06100A | EKL17-40AFD-1NB06300A |
| 10A | EKL17-40AFD-1NB1010A | EKL17-40AFD-1NB1030A | EKL17-40AFD-1NB10100A | EKL17-40AFD-1NB10300A |
| 16A | EKL17-40AFD-1NB1610A | EKL17-40AFD-1NB1630A | EKL17-40AFD-1NB16100A | EKL17-40AFD-1NB16300A |
| 20A | EKL17-40AFD-1NB2010A | EKL17-40AFD-1NB2030A | EKL17-40AFD-1NB20100A | EKL17-40AFD-1NB20300A |
| 25A | EKL17-40AFD-1NB2510A | EKL17-40AFD-1NB2530A | EKL17-40AFD-1NB25100A | EKL17-40AFD-1NB25300A |
| 32A | EKL17-40AFD-1NB3210A | EKL17-40AFD-1NB3230A | EKL17-40AFD-1NB32100A | EKL17-40AFD-1NB32300A |
| 40A | EKL17-40AFD-1NB4010A | EKL17-40AFD-1NB4030A | EKL17-40AFD-1NB40100A | EKL17-40AFD-1NB40300A |
| AFDD/RCBO EK17-40AFD (кривая C) | ||||
| 6A | EKL17-40AFD-1NC0610A | EKL17-40AFD-1NC0630A | EKL17-40AFD-1NC06100A | EKL17-40AFD-1NC06300A |
| 10A | EKL17-40AFD-1NC1010A | EKL17-40AFD-1NC1030A | EKL17-40AFD-1NC10100A | EKL17-40AFD-1NC10300A |
| 16A | EKL17-40AFD-1NC1610A | EKL17-40AFD-1NC1630A | EKL17-40AFD-1NC16100A | EKL17-40AFD-1NC16300A |
| 20A | EKL17-40AFD-1NC2010A | EKL17-40AFD-1NC2030A | EKL17-40AFD-1NC20100A | EKL17-40AFD-1NC20300A |
| 25A | EKL17-40AFD-1NC2510A | EKL17-40AFD-1NC2530A | EKL17-40AFD-1NC25100A | EKL17-40AFD-1NC25300A |
| 32A | EKL17-40AFD-1NC3210A | EKL17-40AFD-1NC3230A | EKL17-40AFD-1NC32100A | EKL17-40AFD-1NC32300A |
| 40A | EKL17-40AFD-1NC4010A | EKL17-40AFD-1NC4030A | EKL17-40AFD-1NC40100A | EKL17-40AFD-1NC40300A |
